How to Identify the Profile of a Fridge or Freezer Door Seal

Fridge and freezer door seals—also known as gaskets—are important for maintaining your appliances efficiency. They create an airtight barrier between the inside of the unit and the surrounding room to keep the cold air in and the warm air out. Over time these seals can wear, harden or split resulting in air leaks that increase energy consumption and reduce food preservation. Correctly identifying and measuring the seal profile ensures you get the right replacement, restoring your appliances performance and helping to reduce running costs.

How to Identify the Profile of your Seal

Most fridge and freezer seals fall into three main categories: dart type, flap type and lip type. Dart seals are held in place by an arrow-shaped “dart” that pushes into a slot in the door frame. Flap or lip seals have a flat flap that is clamped under a retaining plate, usually fixed with screws that are often not visible until the seal is gently pulled back and lifted away from the door.

Dart Type Fridge Door Seal

Dart Type

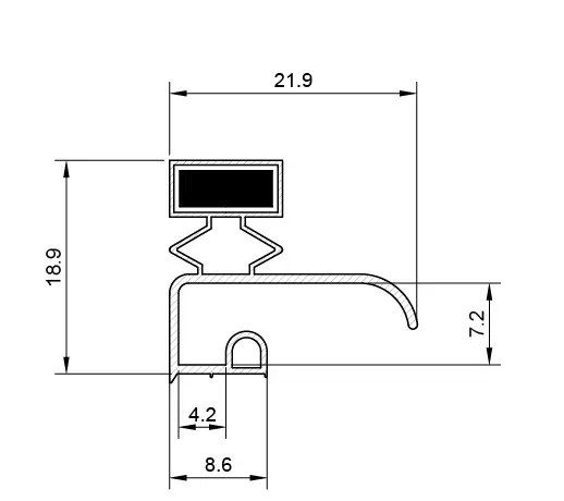
Flap Type Fridge Door Seal

Flap Type

Lip Type Fridge Door Seal

Lip Type

To identify the seal profile, you will need to remove the seal from the door frame to view its cross-section. If it is a dart type fridge door seal, gently pull the top corner on the hinge side until the top section comes free from the slot—avoiding excessive force to prevent damage. If it is a flap or lip type fridge door seal, lift the inner edge to reveal the retaining plate then remove the screws from along the top and about one-third of the way down each side. Once the top of the seal is released, carefully pull it from behind the retaining plate.

With the seal partially removed, cut through it taking care not to let any magnetic strips fall out. We usually recommend to cut the section about one-third of the way from the hinge side. Hold the cut section so the long edge faces you and take a clear straight-on photograph of the cross-section. Please see our How to Provide Details of your Seals guide which explains how to take a clear photograph of the cross-section / end profile.

For dart type seals measure the height from the tip of the dart to the top of the seal, and the width across the widest point. For flap or lip type seals, measure the width and height as per the example drawings above. Once you have taken these measurements, refit the seal if the appliance is still in use to maintain proper cooling.

How to Measure the Dimensions of your Seal Frame

Dart Fridge Door Seal Measurements

Dart Type


Our dart type fridge door seals are supplied as a frame with mitred corners that can be fitted straight onto the door of your fridge or freezer.

For dart type seals, you will need to measure the size of the required frame from the centre of the dart to the centre of the opposite dart, both horizontally and vertically. This will give you a “dart to dart” measurement of the width and height of the required frame.

You will find it easiest to take this measurement on the door itself, measuring from the inside edge of the slot on one side to the outside edge of the slot on the other.

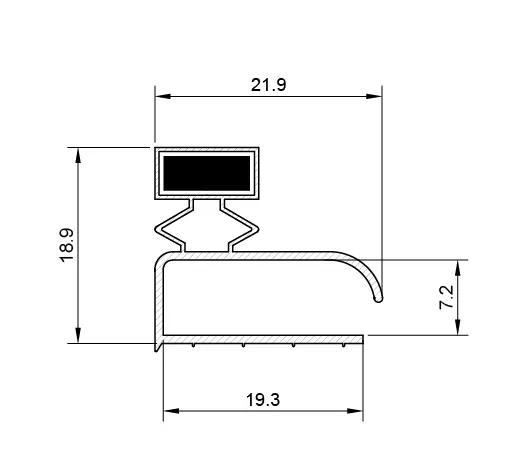
Flap & Lip Fridge Door Seal Measurements

Flap or Lip Type


We supply all of our fridge and freezer replacement seals as a frame with mitred corners that can be fitted straight onto the door of your fridge or freezer. For flap and lip type fridge door seals, it is best if you measure the seal frame whilst it is still fitted to your appliance.

You will need to measure the width and height of your current seal frame. Firstly measure from the outer edge of the seal on the left hand side of the door to the outer edge of the seal on the right hand side, and then measure from the outer edge of the seal at the top to the outer edge at the bottom.

Information to Provide When Ordering

Once you have completed the above steps, please send us the below information so that we can help identify a suitable replacement.

Dart Type


1 – A clear straight-on photograph of the cross-section of your current profile.

2 – Measurements that will allow us to gauge the size of your current seal. For dart profiles, measure the height from the tip of the dart to the top of the seal and the width across the widest point.

3 - The width and height of the manufactured frame, with the measurements taken from the centre of one dart to the centre of the opposite dart. It may be easiest to take this measurement on the door itself.

Flap or Lip Type


1 – A clear straight-on photograph of the cross-section of your current seal.

2 – Measurements that will allow us to gauge the size of the section. For flap or lip seals, measure the overall width and height.

3 – The width and height of the manufactured frame, with measurements taken from the outer edge of the seal on one side to the outer edge of the seal on the other side.

Contact our technical team by email at sales@sealsplusdirect.co.uk or via phone on 01425 617722 for help and advice with selecting the best product for your application.


How to Identify and Replace a Car Door Edge Guard Protector